eSpiegel zerpflücken

  • #1

    Servus Leutz,


    Wollt demnächst meine eSpiegel lacken lassen, und mein Lackierer meinte,
    das es besser wär, wenn ich die innereien rausnehmen würde, da er die dinger
    "brennen" (?) würde. Sprich bei 110°C usw.


    nun, jetzt frag ich mich, wie ich vorgehen sollte, das ding OHNE die Spiegel zu schrotten auseinander nehmen kann.


    Hat da jemand schon Erfahrung?



    Danke im voraus.


    Serhat.K

  • #2

    8o 110°C??? Will er den Kunststoff schmelzen?


    Ich habs mal rausgesucht:


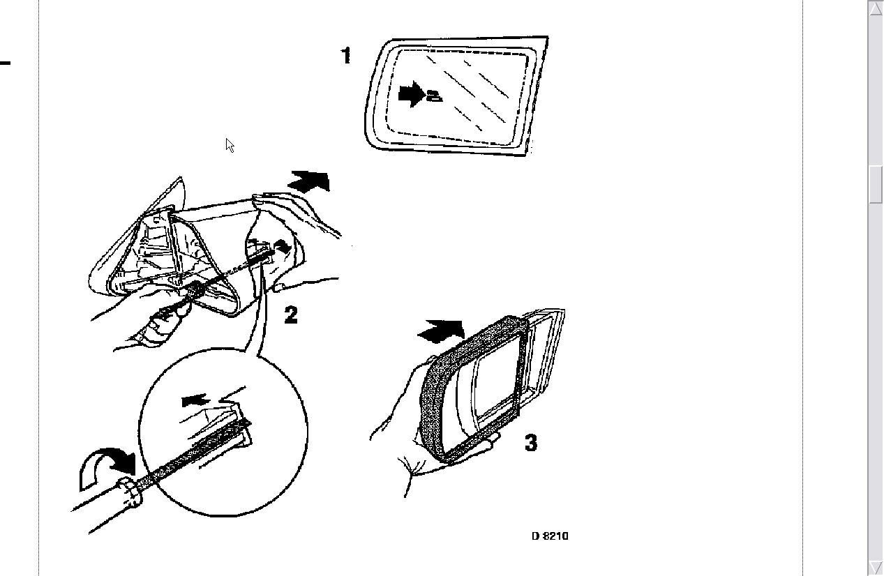
    Ausbau:
    Spiegelkopf durch leichten Schlag auf Rückblickspiegel-Abdeckung ausrasten.
    Schraubendreher zum Rastpunkt zwischen Innengehäuse und Rückblickspiegel-Abdeckung führen.
    Rastung durch verdrehen des Schraubendrehers entriegeln und Rückspiegel-Abdeckung gleichzeitig mit leichtem Zug vom Innengehäuse abziehen.


    Einbau:
    Rückspiegel-Abdeckung auf Innengehäuse aufschieben und einrasten Bild 3.

  • #3

    Feeeeeeetttt!


    Danke für die genaue intruktion!
    Klasse!



    Aber ich krieg irgenwie nicht mit dem schraubenzieher die abdeckung ab.
    vielleicht stell ich mich ja blöd an, aber hab irgendwie Muffe, die Abdeckung zu zerstören... ich probiers nomma



    danke nochmals....

  • #4

    Das ist auch ne sch.... Arbeit, ich hab da auch schon öfters dran gefummelt.

  • #5

    ich krieg des nicht hin...
    hab die spiegel ausgebaut und bei "leichten schlägen" passiert da gar nix. hab angst bei stärkeren schlägen das plastik zu sprengen.


    gibts da nen tipp?

  • #6

    Du meinst den ganzen Spiegel zu demontieren, ich mach das immer von hinten nach vorne, zur not sprühe die Zapfen mal mit WD40 ein.

  • Hey,

    dir scheint die Diskussion zu gefallen, aber du bist nicht angemeldet.

    Wenn du ein kostenloses Konto eröffnest merken wir uns deinen Lesefortschritt und bringen dich dorthin zurück. Zudem können wir dich per E-Mail über neue Beiträge informieren. Dadurch verpasst du nichts mehr.


    Jetzt anmelden!