Drosselklappenspalt 12N

  • #1

    Hallo! Kann mir wer die Werksvorgabe für den Drosselklappenspalt beim Kadett-C 12N mit dem Solex 30/35 PDSI und 30er Ansaugquerschnitt sagen? Habe leider nirgends Angaben.
    Evtl. auch für den Kadett-D 12N mit dem selben Vergaser aber 35er Ansaugquerschnitt?

    Opel Kadett das Auto

  • #3

    Das weiß ich, es gab aber auch mal Werte für den Spalt, leider kann ich diese nirgends finden. Stoße leider immer wieder auf komplett verstellte Drosselklappen, die dann ein Einstellen des CO-Gehaltes und der Leerlaufdrehzahl unmöglich machen. Um hier prüfen zu können, ob der Vergaser überholt werden muss, oder noch in Ordnung ist, wäre der mechanische Einstellwert des Drosselklappenspaltes hilfreich.

    Opel Kadett das Auto

  • #4

    Den Solex PDSI hatte ich noch zu Lehrzeiten, der wurde auf Leerlauf in Drehzahl und CO eingestellt, das einzigste was sonst eingestellt wurde, das bei Vollgas die Drosselklappe senkrecht stand, mehr nicht.

    Ein Auto ist erst dann schnell genug, wenn man Morgens davor steht und angst hat, es aufzuschliessen. Zitat: Walter Röhrl
    1x Omega A Caravan 116PS/C20NE mit LPG
    1x Astra H TwinTop 155PS/Z18XER

    1x Zafira B Family 140PS/A18XER

  • #6

    Wenn die Drosselklappe bei Vollgas eingestellt wird, kann man sie nicht nochmal im Leerlauf einstellen, das funktioniert nicht.
    Damals wie heute, wenn was am Vergaser defekt ist, muss dieses ordentlich instandgesetzt werden.
    An diesen Vergaser wurde kein Spalt eingestellt, sie werden eingestellt wie OpelKadett das verlinkt hat.

    Ein Auto ist erst dann schnell genug, wenn man Morgens davor steht und angst hat, es aufzuschliessen. Zitat: Walter Röhrl
    1x Omega A Caravan 116PS/C20NE mit LPG
    1x Astra H TwinTop 155PS/Z18XER

    1x Zafira B Family 140PS/A18XER

  • #7

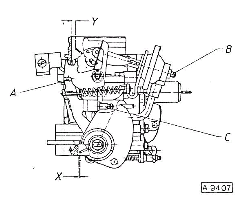
    @Opel85
    ich habe eben in meinem Kadett D Werkstatthandbuch folgende Auszug gefunden:

  • #10

    Ich habe gerade nochmal in meinen C-Kadett Unterlagen geschaut, da steht zur Drosselklappe nur drin, wie ich oben schon beschrieben hab, das diese senkrect stehen muss, bei Vollgasstellung des Gaspedals.
    Die Stellung der Starterklappe ergibt sich ja, wie man den Choke zieht, muss natürlich auch senkrecht stehen, wenn der Choke komplett reingeschoben ist.

    Ein Auto ist erst dann schnell genug, wenn man Morgens davor steht und angst hat, es aufzuschliessen. Zitat: Walter Röhrl
    1x Omega A Caravan 116PS/C20NE mit LPG
    1x Astra H TwinTop 155PS/Z18XER

    1x Zafira B Family 140PS/A18XER

  • Hey,

    dir scheint die Diskussion zu gefallen, aber du bist nicht angemeldet.

    Wenn du ein kostenloses Konto eröffnest merken wir uns deinen Lesefortschritt und bringen dich dorthin zurück. Zudem können wir dich per E-Mail über neue Beiträge informieren. Dadurch verpasst du nichts mehr.


    Jetzt anmelden!