Alles anzeigen
Nein, dass sind keine Kadett D Federn. Diese sind in der alten Ausführung vollkommen zylindrisch und in der späteren Version einseitig am letzten Gewindegang konisch.
Habe gestern noch einen neuen Satz verkauft.
Alles anzeigen
Nein, dass sind keine Kadett D Federn. Diese sind in der alten Ausführung vollkommen zylindrisch und in der späteren Version einseitig am letzten Gewindegang konisch.
Habe gestern noch einen neuen Satz verkauft.
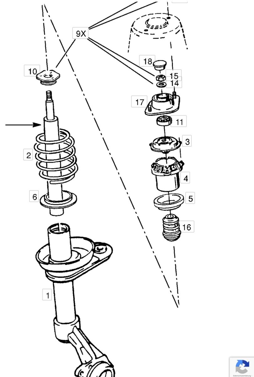
Da Fehlt doch die Staubschutzkappe. Man sieht auf dem einen Bild den Federteller und drunter den gummiring. Da muss die Staubschutzkappe dazwischen. Die steht auch über den Federteller über, somit würde auch die Feder vernünftig sitzen.Auf deinen bildern sieht das aus als ob teil nummer 4 fehlt oder irgendwas andere falsches verbaut ist. So ist das Aufjedenfall falsch. Ohne Staubschutzkappe hätte der TÜV normal schon meckern sollen und mal genauer gucken.Egal wer das so zusammengebaut hat, sollte sich gedanken machen ob das Schrauben das richtige Hobby ist. Siehe Bild.
Mein Gott ja das sieht absolut nicht gut aus! Es sieht bestimmt aus wie es entweder die Staubschutz fehlt, oder ein falsches Teil eingebaut ist, aber die Feder sind auch absolut viel zu weit.
Das ganze Staubschutz-Federteller-Gummi Teil ist als nachbau erhältlich und wirklich ordentliche Qualität für unter 10 Euro/Stück vom GM Werk in Korea. Suche einfach auf GM Nummer 96133096 vom Nexia mit google.
Hey und vielen Dank für die zahlreichen Antworten.
Ein wenig ulkig finde ich die Geschichte nun wirklich schon.
Die original Feder sitzt ja korrekt im Federbein, auch die (meine unvollständige) Staubschutzkappe (Gummi) und der darüberliegende Federteller sitzt korrekt auf der Originalfeder.
Meines Erachtens und auch die der Werkstatt, die obere Windung der Feder passt einfach nicht.
Ich habe bereits parallel eine Anfrage an den Verkäufer gestellt, ich bin mal gespannt was er meint.
Der Hersteller ist TA, hat denn jemand von Euch ein TA verbaut, wie schaut es da aus?
Ich danke Euch echt herzlich für Euer eingebrachtes Wissen! 🙏🙏🙏
Ok, dann sind die wahrscheinlich gekürzt, das Teil sollte auf jedem Fall aus Kunststoff gefertigt sein, dann eine Gummiring da herum, und dem Federteller aus lackiertes Stahl sitzt oben drauf.
Es sieht auch so komisch aus so mit die ganz anderen Federn, und dann dem gekürzten Staubschutz dass es kaum zu erkennen ist was da genau falsch an ist, aber es sieht so aus wie der Feder könnte so über der Federteller schießen...
Alles anzeigenHey und vielen Dank für die zahlreichen Antworten.
Ein wenig ulkig finde ich die Geschichte nun wirklich schon.
Die original Feder sitzt ja korrekt im Federbein, auch die (meine unvollständige) Staubschutzkappe (Gummi) und der darüberliegende Federteller sitzt korrekt auf der Originalfeder.
Meines Erachtens und auch die der Werkstatt, die obere Windung der Feder passt einfach nicht.
Ich habe bereits parallel eine Anfrage an den Verkäufer gestellt, ich bin mal gespannt was er meint.
Der Hersteller ist TA, hat denn jemand von Euch ein TA verbaut, wie schaut es da aus?
Ich danke Euch echt herzlich für Euer eingebrachtes Wissen! 🙏🙏🙏
Ich habe erst letztes Jahr Federn von TA (60/40) verbaut. Die haben gepasst so wie es sein soll, sitzen korrekt in der oberen Federaufnahme. Analog dem Foto von "nr1ebw"
Das was man bei dir sieht ist definitiv nicht richtig so.
Hallo Vinci,
Danke!
Genau das sind die Bedenken, als würden die Federn über den Teller schiessen, sind sie ja zum Teil schon.
Gekürzt ist da nichts, die kamen so in der Kartonage vom Verkäufer.
Paddy.89 dann müssten Deine Federn ja ganz anders aussehen.
Hast Du auch laut Teilegutachten die EVOOP041?
dir scheint die Diskussion zu gefallen, aber du bist nicht angemeldet.
Wenn du ein kostenloses Konto eröffnest merken wir uns deinen Lesefortschritt und bringen dich dorthin zurück. Zudem können wir dich per E-Mail über neue Beiträge informieren. Dadurch verpasst du nichts mehr.